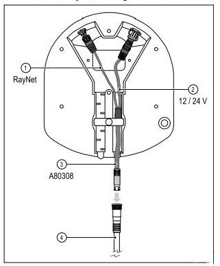
Raymarine Quantum voedings- en data Y- adapterkabel, om bestaand digitale radarkabel te kunnen hergebruiken.

Specificaties Raymarine A80309 Quantum adapterkabel
- Hergebruik van de bestaande (alleen) digitale radarkabel
- Niet solderen, maar connectoren in elkaar draaien


